2974 次浏览

2022-04-11

400-921-5598

热点推荐

变电站二次回路图
来源: | 作者:运维部 | 发布时间: 2024-06-17 | 528 次浏览 | 🔊 点击朗读正文 ❚❚ | 分享到:

我们在继保室看到的保护、测控屏,在设备区看到的端子箱,都属于变电站二次部分。

主接线图表明一次设备之间的联系,而二次图纸则表明二次设备之间的联系。

相信你们一定会有这样的感觉:一次部分比较直观,不看图纸,在设备区走一圈,也可以知道这个站是什么接线方式;而到了二次部分,很多接线都藏在我们不能一眼看到的地方。比如,打开一个保护屏后门,你会看到这样的接线:

装置背板上的不同插件承担不同的功能,并引出端子与外界联系。我们看不到每根线从装置的什么地方接到了哪里,想知道二次部分怎么接线,必须看二次图纸。

看图纸,是最方便、最快的了解一个站的方式。PT、CT二次侧接去了哪里?空开、压板以什么方式和其它装置产生联系?我们见到的信号都是怎么报出来的?这些问题都能够从图纸上找到答案。

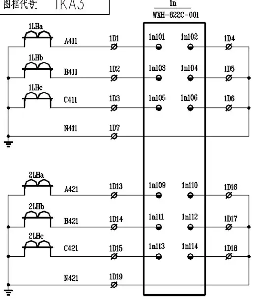
看懂图纸最好的方法,就是直接拿着图纸,对着现场的屏柜看。建议看图时将展开图和安装图一起看,并且配合对应设备说明书观看。比如,对于下面这张图:

图上的“1n”是装置编号,“WXH-822C”是10kV微机线路保护测控装置,“1n101”表示装置背板的端子编号。

图上的“1D1”表示端子排上的端子编号。我们根据展开图上的端子编号在安装接线图中找到对应的端子,如下图:

再找到装置说明书,会发现说明书上有一份像这样的装置端子图:

这张图上标注出了装置背板的布置和背板上各个端子的作用。在这张图下面,通常会有像下图这样的接线说明:

将这些内容结合在一起理解,就可以想象出图上出现的线在现场是怎么接的。

关键词:智能运维、配电、配电室标识牌、配电间、高压配电室、配电室绝缘垫、配电室挡鼠板高度标准、配电电器、配电设备、配电装置、智能配电系统、配电室无人值守五个条件、智能配电、送配电装置系统调试、智能运维系统

3月22日,国家发改委、国家能源局发布关于印发《“十四五”现代能源体系规划》

01

展望未来,方融将持续深入技术创新和场景探索,助力我国大力发展智慧能源技术

用数字技术响应双碳政策,方融智慧能源综合服务平台大有可为!

02

展望未来,方融将持续深入技术创新和场景探索,助力我国大力发展智慧能源技术

2022-04-11

2974 次浏览

3月22日,国家发改委、国家能源局发布关于印发《“十四五”现代能源体系规划》

03

展望未来,方融将持续深入技术创新和场景探索,助力我国大力发展智慧能源技术

2022-04-11

2974 次浏览

3月22日,国家发改委、国家能源局发布关于印发《“十四五”现代能源体系规划》

04

展望未来,方融将持续深入技术创新和场景探索,助力我国大力发展智慧能源技术

2022-04-11

2974 次浏览

3月22日,国家发改委、国家能源局发布关于印发《“十四五”现代能源体系规划》

05

展望未来,方融将持续深入技术创新和场景探索,助力我国大力发展智慧能源技术

2022-04-11

2974 次浏览

3月22日,国家发改委、国家能源局发布关于印发《“十四五”现代能源体系规划》

06

展望未来,方融将持续深入技术创新和场景探索,助力我国大力发展智慧能源技术

2022-04-11

2974 次浏览

电话:400-921-5598 
邮箱:marketing@fr-cloud.com
地址:中国上海市虹口区曲阳路800号上海商务中心大厦8楼
沪ICP备16037072号-2 
 沪公网安备 31011502002595号

电站卫士公众号

Copyright ©  2017上海方融科技有限责任公司版权所有