2974 次浏览

2022-04-11

400-921-5598

热点推荐

通讯设备故障难发现?AI巡检让问题无处可藏!
来源: | 作者:运维部 | 发布时间: 2023-09-01 | 593 次浏览 | 🔊 点击朗读正文 ❚❚ | 分享到:
通讯管理设备的出现促进了电力行业的发展与应用。通讯管理机的应用,可以有效解决电能管理系统中实时通信和组网的问题。

前言

通讯管理设备的出现促进了电力行业的发展与应用。通讯管理机的应用,可以有效解决电能管理系统中实时通信和组网的问题。


通讯设备的重要性:


1、动态电容补偿柜的作用是提高电能的使用效率,降低电费,即提高用电设备的功率因数。但是用电设备投入的数量可能会变化,因此功率因数在不同时间也是不一样的,这样就要随时调整补偿电容的容量,以保证较高的功率因数。由于投入的电容数量是自动控制的,所以叫动态电容补偿柜。

2、配电柜带通讯管理装置的目的,主要为了实现即时通讯、实时监测设备运行状态,减少意外情况带来的企业用电损失。

如果通讯设备发生故障,而企业未能及时发现、及时处理,将可能对企业电能运行造成巨大损失。但光靠值班人员是无法第一时间发现通讯设备故障的,因此,AI巡检成为配电室不可或缺的智能工具。

在现实应用中,AI智能巡检会如何帮助企业快速发现通讯故障呢?以下是电站卫士服务的客户在实际运用中,通过AI智能巡检及时发现故障的案例详解,让我们一起来看看先进技术的实操应用吧!



案例详解


1、故障上报


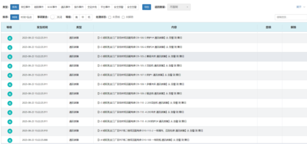
2023年8月23日11点38分,电站卫士平台值班员收到AI智能巡检上报的大量通讯设备故障信息。


2、锁定范围


值班人员立刻进行初步检查,发现通讯故障信息是来自于浙江某食品公司5个站点的采集设备,涉及高压配电房、包材低压配电房等。



3、核实故障


值班人员迅速利用AI对多个数据样例进行查询和分析,经AI大数据比对发现,8月23日11点30分开始,电压数据不再刷新,该数据异常情况与AI的故障上报信息一致。



4、初判故障类型


值班人员启动AI自检功能,AI通过模型建设和历史数据的分析,判断该通讯故障有两种情况,第一,全站失电;第二,站内网络故障。


值班人员又启动历史数据分析,经AI大数据核对,排除全站失电情况,初判为站内网络故障


为确保锁定故障类型的准确性,值班人员立即通过调度电话联系该客户,得到的回复是“未发生停电事故,现场也无人员对设备进行操作,用电正常”。


因此,AI锁定的“站内网络故障”判断正确,值班人员又启动故障详细分析,AI得出两种可能性:第一,网络设备失电;第二,网络线路故障。


5、故障处理


为尽快处理故障,以免客户公司遭受损失,按照运行规范,值班人员立即向运行主管进行了故障汇报和简要的判断汇报,并填写值班日志。


运行主管收到汇报后,立刻联系该食品公司主管能源的领导,提请其派管理网络的工程师立即前往现场检查网络情况。在与客户沟通后,运行主管又向平台运营商领导做了故障汇报。


6、通讯故障恢复


经过多方努力,8月23日13点22分,通讯故障陆续恢复。



8月23日13点40分,该食品公司主管能源的领导反馈,系UPS故障导致这次意外事故,现已修复。



平台值班员将客户反馈及时登记在值班日志中。至此,本次通讯故障的处理完成闭环。


3月22日,国家发改委、国家能源局发布关于印发《“十四五”现代能源体系规划》

01

展望未来,方融将持续深入技术创新和场景探索,助力我国大力发展智慧能源技术

用数字技术响应双碳政策,方融智慧能源综合服务平台大有可为!

02

展望未来,方融将持续深入技术创新和场景探索,助力我国大力发展智慧能源技术

2022-04-11

2974 次浏览

3月22日,国家发改委、国家能源局发布关于印发《“十四五”现代能源体系规划》

03

展望未来,方融将持续深入技术创新和场景探索,助力我国大力发展智慧能源技术

2022-04-11

2974 次浏览

3月22日,国家发改委、国家能源局发布关于印发《“十四五”现代能源体系规划》

04

展望未来,方融将持续深入技术创新和场景探索,助力我国大力发展智慧能源技术

2022-04-11

2974 次浏览

3月22日,国家发改委、国家能源局发布关于印发《“十四五”现代能源体系规划》

05

展望未来,方融将持续深入技术创新和场景探索,助力我国大力发展智慧能源技术

2022-04-11

2974 次浏览

3月22日,国家发改委、国家能源局发布关于印发《“十四五”现代能源体系规划》

06

展望未来,方融将持续深入技术创新和场景探索,助力我国大力发展智慧能源技术

2022-04-11

2974 次浏览

电话:400-921-5598 
邮箱:marketing@fr-cloud.com
地址:中国上海市虹口区曲阳路800号上海商务中心大厦8楼
沪ICP备16037072号-2 
 沪公网安备 31011502002595号

电站卫士公众号

Copyright ©  2017上海方融科技有限责任公司版权所有